×
 

RÉDUCTION M > M Inox 316 (Modèle : 9160)

9160 RÉDUCTION M > M Inox 316

Photos

Dessins techniques

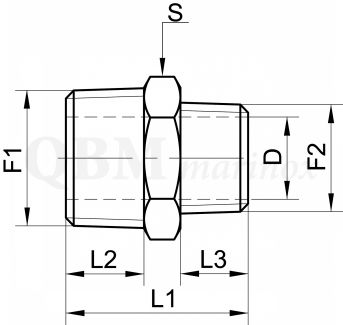
Informations

Réduction mâle / mâle - Inox 316L

> Diamètres disponibles : du DN10-8 au DN50-40
Filetage Gaz ou NPT

> Pression nominale de la réduction en 316L est de :
20 bar à 20°C
16 bar à 100°C

> Norme ISO 7-1

Documents

Quantité
 
+
D
NC
916003
10-8
R 3/8"
R 1/4"
8
30
12
11
19
D
NC
916004
15-10
R 1/2"
R 3/8"
12
32
14
11
23
D
NC
916005
20-15
R 3/4"
R 1/2"
15
35
15
13
27
D
NC
916006
25-20
R 1"
R 3/4"
20,5
40
18
15
36
D
NC
916007
32-25
R 1"1/4
R 1"
26
45
19
18
46
D
NC
916008
40-32
R 1"1/2
R 1"1/4
34
48
19
19
50
D
NC
916009
50-40
R 2"
R 1"1/2
40
51
23
19
65

Produits diponibles sous 3 jours
* Autres dimensions disponibles sur demande

Retour en haut